NOI NU MODIFICAM PRETURILE!!! TVA-ul a crescut la 21% începând cu 1 august 2025. Pe ledo.ro prețurile rămân neschimbate până la 31.12.2025. Poate și după această dată...

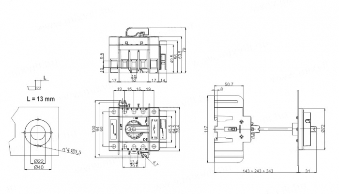
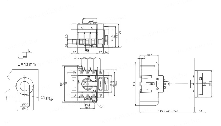
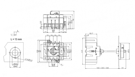
Omu System Intrerupator modular rotativ 3 poli 100A 0-1 ON-OFF IP20 montaj pe sina sau cu suruburi

Omu System
236,90 Lei
8 In stoc

Durata de livrare: 3 zile

Limita stoc
Adauga in cos
Cod Produs: SMD-3100DI Ai nevoie de ajutor? +40744999356
Adauga la Favorite Cere informatii
  • Descriere
  • Review-uri (0)
Intrerupator modular rotativ 3 poli 100A 0-1 ON-OFF IP20 montaj pe sina sau cu suruburi

Întrerupătoarele rotative modulare din seria SMD permit întreruperea și deconectarea dispozitivelor de joasă tensiune la sarcină la curenți nominali de la 16 la 200A
Utilizare
Întrerupătoarele rotative modulare din seria SMD sunt utilizate în general ca: întrerupător principal, întrerupător de motor, întrerupător de siguranță, întrerupător
Caracteristici generale
• Capacitate mare de izolare (AC 22 A – AC 23 A)
• Contacte de izolare dublă
• Toleranță mecanică și electronică mare
• Rezistent la medii umede și calde
• Protecție IP20 (cu accesorii)
• Funcționare modulară, instalare cu șuruburi și șină DIN de 35 mm
Interval: 16-25-32-40-63-100-160-200 A
Poli suplimentari: al patrulea pol comutabil, zero permanent și pol de pământ
Mecanism de acționare
Cap comutator direct de urgență, blocabil în poziția „0”
Multe accesorii opționale
Blocabil
Respectă următoarele standarde: IEC 60947/1-3, CEI EN 60947/1-3, UL508
Vezi mai mult Informatii conformitate produs
Daca doresti sa iti exprimi parerea despre acest produs poti adauga un review.

Review-ul a fost trimis cu succes.

Compara produse

Trebuie sa mai adaugi cel putin un produs pentru a compara produse.

A fost adaugat la favorite!

A fost sters din favorite!